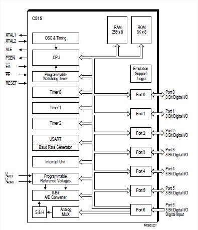
Product Summary
The SAB-C515-LN is an 8-Bit CMOS Microcontroller. It additionally provides ALE switch-off capability, on-chip emulation support, ROM protection, and slow down mode capability. With a maximum external clock rate of 24 MHz it achieves a 500 ns instruction cycle time. The SAB-C515-LN is mounted in a P-MQFP-80 package.
Parametrics
SAB-C515-LN absolute maximum ratings: (1)Ambient temperature under bias (TA): – 40 to 110 ℃; (2)Storage temperature (Tstg): – 65 to 150 ℃; (3)Voltage on VCC pins with respect to ground (VSS): – 0.5 V to 6.5 V; (4)Voltage on any pin with respect to ground (VSS): – 0.5 V to VCC +0.5 V; (5)Input current on any pin during overload condition: – 10 mA to 10 mA; (6)Absolute sum of all input currents during overload condition: I 100 mA I; (7)Power dissipation: TBD.
Features
SAB-C515-LN features: (1)8-bit A/D converter; (2)8 multiplexed analog inputs: Programmable reference voltages; (3)16-bit watchdog timer; (4)Power saving modes: Idle mode, Slow down mode (can be combined with idle mode), Software power-down mode; (5)12 interrupt sources (7 external, 5 internal) selectable at four priority levels; (6)On-chip emulation support logic (Enhanced Hooks Technology TM); (7)ALE switch-off capability; (8)P-MQFP-80-1 package.
Diagrams

(China (Mainland))






