Product Summary
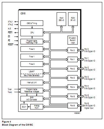
The SAF-C515-LN is an upward compatible version of the SAB 80C515A 8-bit microcontroller which additionally provides ALE switch-off capability, on-chip emulation support, ROM protection, and slow down mode capability. With a maximum external clock rate of 24 MHz it achieves a 500 ns instruction cycle time. The SAF-C515-LN is mounted in a P-MQFP-80 package.
Parametrics
SAF-C515-LN absolute maximum ratings: (1)Ambient temperature under bias (TA): – 40 to 110℃; (2)Storage temperature (Tstg): – 65 to 150℃; (3)Voltage on VCC pins with respect to ground (VSS): – 0.5 V to 6.5 V; (4)Voltage on any pin with respect to ground (VSS): – 0.5 V to VCC +0.5 V; (5)Input current on any pin during overload: – 10 mA to 10 mA; (6)Absolute sum of all input currents during overload condition: 100 mA; (7)Power dissipation: TBD.
Features
SAF-C515-LN features: (1)8-bit A/D converter: 8 multiplexed analog inputs; Programmable reference voltages; (2)16-bit watchdog timer; (3)Power saving modes: Idle mode; Slow down mode (can be combined with idle mode); Software power-down mode; (4)12 interrupt sources (7 external, 5 internal) selectable at four priority levels; (5)On-chip emulation support logic (Enhanced Hooks Technology TM); (6)ALE switch-off capability; (7)P-MQFP-80-1 package; (8)Temperature Ranges: TA = -40 to 85℃.
Diagrams

(China (Mainland))






